
스포츠 산업에서 IP의 전장이 바뀌고 있습니다. 과거에는 팀 로고나 상품권이 핵심이었다면, 지금은 경기의 공정성과 속도를 제어하는 기술이 핵심 자산입니다.
경기 규칙 자체는 특허가 될 수 없습니다. 하지만 그 규칙을 현실 세계에서 물리적으로 구현하고 판정하는 시스템은 강력한 독점 권리가 됩니다.
파인특허법률사무소가 축구의 VAR·오프사이드 판독, 테니스의 호크아이, 야구의 PitchCom(피치컴) 등 대표적인 스포츠 테크 기술을 특허를 통해 해부해 드립니다.
심판이 눈으로 보고 판정하는 것은 인간의 행위지만, 이것을 기계가 돕는 순간 특허의 영역이 열립니다. 성공적인 스포츠 특허들은 공통적으로 아래와 같은 흐름을 권리화합니다.
[센서/카메라 구성] → [영상·신호 처리]→ [규칙(판정) 엔진] →[UI/전송/로그]
이 파이프라인 전체를 어떻게 설계하느냐가 바로 승부처입니다.
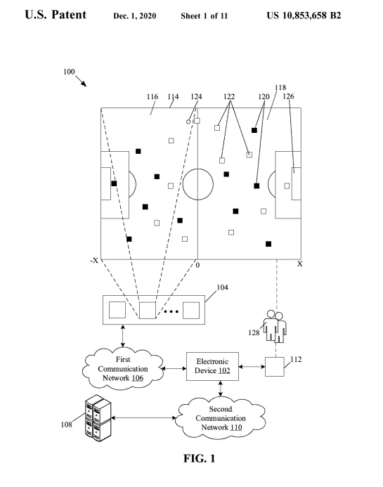
축구는 흐름이 끊기지 않는 것이 중요합니다. 따라서 최근 특허 트렌드는 웨어러블 센서 없이 영상만으로 판정하는 기술에 집중됩니다.

소니의 이 특허는 웨어러블 센서 없는 실시간성을 강조합니다. 오프사이드냐 아니냐가 아니라, 다음 요소들을 기술적으로 엮어 청구항을 구성했습니다.
이탈리아 축구협회와 연구기관이 관련된 이 기술군은 규칙 위반 이벤트(Event) 자체를 시스템화했습니다. 영상 취득에서 끝나는 것이 아니라, 특징 추출 → 분류 → 규칙 대입 → 위반 여부 판정이라는 논리적 흐름을 선점했습니다.
💡 파인특허의 Insight:
축구 테크 특허는 핵심 알고리즘과 심판 지원 UI/운영 방식을 분리하여 포트폴리오를 짜야 방어력이 극대화됩니다.
골라인 기술의 핵심은 공이 선을 넘었는지 판단하는 평면 감시입니다.
테니스와 야구에서 쓰이는 호크아이(Hawk-Eye) 기술의 뿌리는 다중 카메라를 이용한 3차원 궤적 추정입니다. 여기서 중요한 특허 포인트는 카메라의 개수가 아닙니다.
야구는 정지된 상태(투구 전)와 폭발적인 움직임이 공존하여, 기술이 개입할 여지가 가장 큽니다.
TV 중계에서 보는 사각형 박스는 현실 공간(Real Space) 좌표계에서 공의 위치와 타자의 키에 따른 스트라이크존을 계산해 실시간 합성(AR)하는 기술입니다.

포수와 투수의 사인을 훔치지 못하게 하는 PitchCom은 통신 보안과 인터페이스가 특허의 핵심입니다.
스포츠테크 스타트업이나 기술 도입을 준비하는 구단이라면, 다음 3가지 전략을 반드시 기억해야 합니다.
스포츠는 이제 기술력 싸움이며, 그 기술력은 결국 특허 포트폴리오로 증명됩니다.
파인특허법률사무소는 현장 환경(비/바람/조명), 실시간성, 운영 워크플로우 등 스포츠테크 특유의 속성을 이해하고 있습니다. 귀사의 기술이 경기장의 표준이 될 수 있도록, 가장 강력한 권리 설계를 지원합니다.